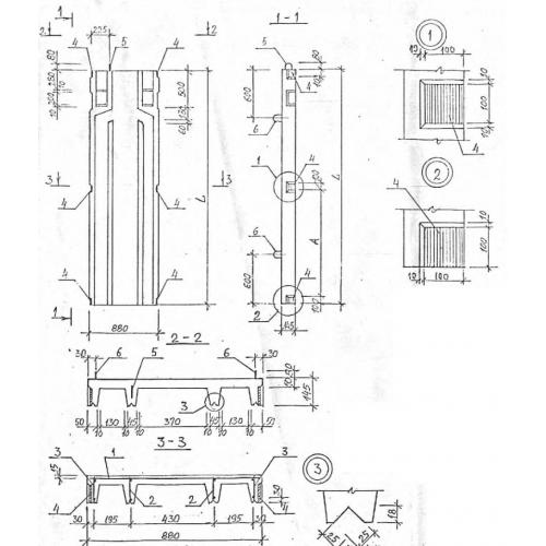
Вентблок ВБ 1-3 п представляет собой специальный элемент для вентиляции и дренажа в железобетонных конструкциях. Он обеспечивает надежную защиту от влаги и позволяет поддерживать оптимальный микроклимат внутри сооружения. Вентблок имеет прочную конструкцию и долгий срок службы.
Вентблоки ВБ 1-3 п широко используются в строительстве железобетонных изделий, таких как стены, перекрытия, фундаменты и другие конструкции. Они обеспечивают эффективную вентиляцию и дренаж, что способствует улучшению качества и долговечности сооружений. Вентблоки также применяются в гидроизоляционных работах для предотвращения проникновения влаги внутрь здания.









