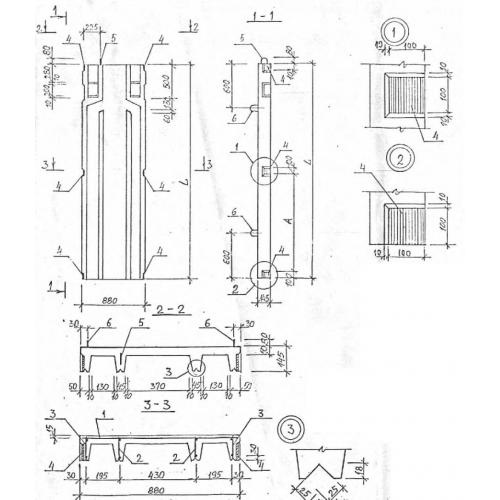
Вентблок ВБ 28-4-9 предназначен для использования в железобетонных конструкциях. Он обеспечивает надежное соединение элементов и обеспечивает необходимую вентиляцию. Благодаря высокому качеству материалов и прочной конструкции, данный вентблок обладает долгим сроком службы и отличной устойчивостью к воздействию внешних факторов.









